找回密码
 立即注册
澳门威尼斯人
U8
U18
海燕招商
A
蓝盾
e世博
islot.
申博亚洲
澳门银河
B
开云
腾博会
德信
C级广告商
吉祥坊
华体会
查看: 157771|回复: 50

[彩票] 【实战有奖】今天在申博7V玩了彩票输了20多

[复制链接]

1214

主题

3万

回帖

506

金币

铂金用户

积分
93108

老会员交易勋章光影行者

发表于 2025-3-23 20:27 | 显示全部楼层 |阅读模式

马上注册,结交更多好友,享用更多功能,让你轻松玩转社区。

您需要 登录 才可以下载或查看,没有账号?立即注册

×
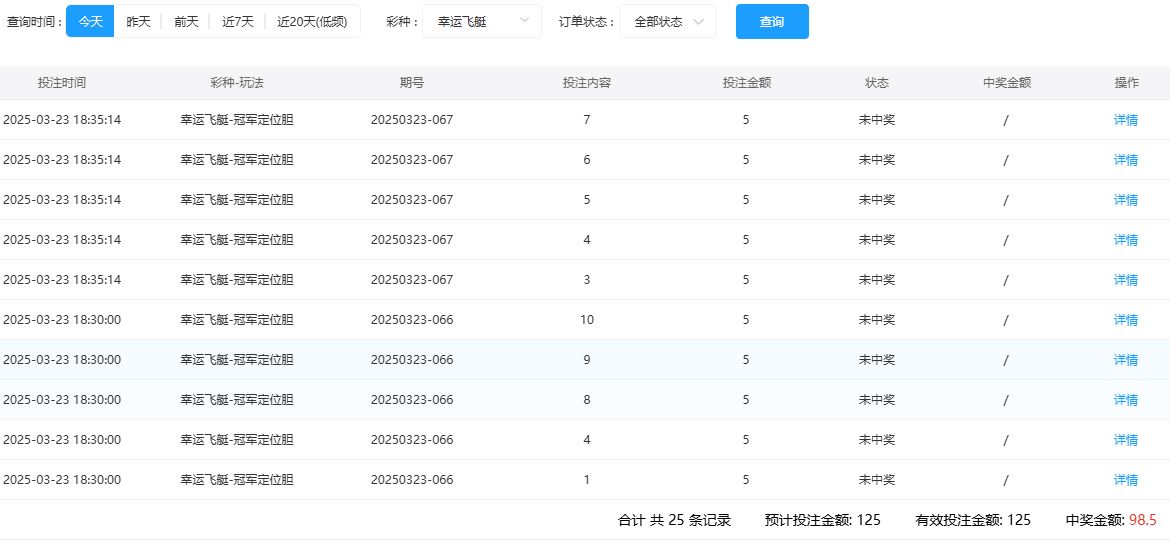
    今天又到了申博7V公司去玩了啊。也是一个不好的结果的了。自己是不想的,但是还是发生了。也是遗憾了。打了125的流水,输了27了啊。也是可惜的了。) [! d8 L, Z# O; n7 T2 o
2.JPG
( J. y7 A+ M# ]* ?4 ]: R4 Z$ L- q# l7 q+ W! @

+ d2 S; O9 O0 X, P  P& ~+ ?* K     今天去了也是选择了幸运飞艇的游戏。又去看了路子。发现第9名的情况还是比较好的。是一个连续的路子。双数比较好。于是我就选定了第9名打双了。第一期运气不错,双数就是中了。我是每个位置下5元,打了2,4,6,8,10这么五个数字,结果还算幸运。不过第2期我还是继续搞双,却又并没有连续好运,出了单,让我输了回去了。也是遗憾的 啊。/ p3 \" d% u2 k& d& L# x
1.JPG
1 s0 Y. v( O# D5 ^) [     第3期,我更换了打法。我是刚才等待开奖的时候,又发现了一个比较奇怪的情况了。发现了一个可以尝试的打法了。于是我启用了新的打法了。我第3期下注了2,4,6,7,9这么五个数字了打冠军。结果不错,果然中了。也是非常的开心的了。我以为新的打法挺好用的啊。不料,后面竟然连续错了2期,让我最终输了钱,这就出了我的意料了啊。
: b6 v" t! N9 h5 [     第4期我是打了1,4,8,9,,10的了,继续打冠军。按我的推算就是出这么几个的了。不过,这期并没有中。观察之前的记录的时候我发现这个方法不错的,但是自己真正使用起来就发现准确率不如之前了。也是挺着急了。虽然这期不中,但是经过4期下来,我也只是2红2黑的,算是平手,没有输什么的。我的心里也不怎么慌。于是我就下注第5期。
0 I( A% w6 ^9 T& V. B1 Z     第5期,我下注了3,4,5,6,7,这么五个中间数,我以为可以中的,猜想 中的概率是高的,但是又一次事与愿违了。再一次不中了。非常遗憾,这样我就输了好几十了。我没有想到新方法动了脑筋,居然还是输了。实在是无奈了。我还是暂且收工了啊。& ?0 ~6 c0 @' k( _( i7 }" e0 u0 C* E
- U9 p) u' w& m
回复

使用道具 举报

102

主题

6390

回帖

2606

金币

金牌会员

积分
20822

老会员

发表于 2025-3-23 20:38 | 显示全部楼层
有损失了是要先止损再想回血的,损失不多要调整一下了
回复 支持 反对

使用道具 举报

2

主题

2482

回帖

2395

金币

铜牌用户

积分
9740

老会员

发表于 2025-3-23 20:47 | 显示全部楼层
总结几次经验,再看看是不是要调整下注的方式,做到心里有数。以后如果遇到不好情况就先停停,心态放松,避免大亏。
回复 支持 反对

使用道具 举报

1575

主题

8万

回帖

2万

金币

海燕硕士

积分
257165

万时之王老会员精华勋章勤奋勋章交易勋章光影行者

发表于 2025-3-24 07:07 | 显示全部楼层
这个输钱了还是非常可惜的,还是要安慰一下楼主的呢  
回复 支持 反对

使用道具 举报

1575

主题

8万

回帖

2万

金币

海燕硕士

积分
257165

万时之王老会员精华勋章勤奋勋章交易勋章光影行者

发表于 2025-3-24 07:07 | 显示全部楼层
易天一人 发表于 2025-3-23 20:38
, A" Q  a. K- F6 k: k; s有损失了是要先止损再想回血的,损失不多要调整一下了

( A/ K7 m. u: ~3 f; L, S% l" w这个小损失一点也是没有什么影响的,相信楼主是可以轻松赢回来的
回复 支持 反对

使用道具 举报

1575

主题

8万

回帖

2万

金币

海燕硕士

积分
257165

万时之王老会员精华勋章勤奋勋章交易勋章光影行者

发表于 2025-3-24 07:08 | 显示全部楼层
旅行家 发表于 2025-3-23 20:47) v( y9 F8 W! }
总结几次经验,再看看是不是要调整下注的方式,做到心里有数。以后如果遇到不好情况就先停停,心态放松,避 ...
+ x9 a2 q  S$ N( ?
这个确实是要调整一下方式了,毕竟我们都是想要能够赢钱的结果呢
回复 支持 反对

使用道具 举报

3912

主题

8万

回帖

8613

金币

海燕硕士

积分
243253

万时之王老会员精华勋章勤奋勋章

发表于 2025-3-24 07:14 | 显示全部楼层
反正我觉得这20块钱都是小问题的基本上也是不用太过于去纠结了吧
回复 支持 反对

使用道具 举报

3912

主题

8万

回帖

8613

金币

海燕硕士

积分
243253

万时之王老会员精华勋章勤奋勋章

发表于 2025-3-24 07:14 | 显示全部楼层
cwx1994 发表于 2025-3-24 07:08, @  N! w( O5 T0 A8 d* \' H3 ?
这个确实是要调整一下方式了,毕竟我们都是想要能够赢钱的结果呢
: N& c6 b* k/ `, v; T4 G
自己该调整的时候就好好的调整一下,能够然后能够多取得一点盈利也是满足
回复 支持 反对

使用道具 举报

3912

主题

8万

回帖

8613

金币

海燕硕士

积分
243253

万时之王老会员精华勋章勤奋勋章

发表于 2025-3-24 07:14 | 显示全部楼层
cwx1994 发表于 2025-3-24 07:07
% h9 K6 q* j2 Y* D这个小损失一点也是没有什么影响的,相信楼主是可以轻松赢回来的
: Q. W$ p  y# w8 L& {0 E
一点点小的损失的话,也不用太过于放在心上,下一次再争取多赢一点回来呗
回复 支持 反对

使用道具 举报

3411

主题

8万

回帖

9624

金币

海燕硕士

积分
236129

万时之王老会员精华勋章勤奋勋章交易勋章光影行者

发表于 2025-3-24 07:22 | 显示全部楼层
因为这次的这个游戏还是小小的,赚了一点点也是会非常的开心的结果吧
回复 支持 反对

使用道具 举报

3411

主题

8万

回帖

9624

金币

海燕硕士

积分
236129

万时之王老会员精华勋章勤奋勋章交易勋章光影行者

发表于 2025-3-24 07:23 | 显示全部楼层
左西右东 发表于 2025-3-24 07:141 r  z* O0 L- q" N# W8 j
一点点小的损失的话,也不用太过于放在心上,下一次再争取多赢一点回来呗 ...

' c2 x" A& Z) C当然就这样亏损了一点点,也是完全可以接受的,希望下一次好运了
回复 支持 反对

使用道具 举报

3411

主题

8万

回帖

9624

金币

海燕硕士

积分
236129

万时之王老会员精华勋章勤奋勋章交易勋章光影行者

发表于 2025-3-24 07:23 | 显示全部楼层
左西右东 发表于 2025-3-24 07:143 F" T) s  F! U% ^( b/ y
反正我觉得这20块钱都是小问题的基本上也是不用太过于去纠结了吧
, y2 L) u! h0 K9 {2 y' \4 K
这个当然还是没有必要再纠结的,纠结也没有用的,已经是这样的结果了
回复 支持 反对

使用道具 举报

3411

主题

8万

回帖

9624

金币

海燕硕士

积分
236129

万时之王老会员精华勋章勤奋勋章交易勋章光影行者

发表于 2025-3-24 07:23 | 显示全部楼层
cwx1994 发表于 2025-3-24 07:07+ A6 u5 k- z. @, E; F
这个小损失一点也是没有什么影响的,相信楼主是可以轻松赢回来的
) V, C2 v4 U/ m0 K
对于这样的一个结果,应该说影响不大的,还是希望能够下一次好运气吧
回复 支持 反对

使用道具 举报

2444

主题

8万

回帖

4089

金币

海燕硕士

积分
222174

老会员超级精华精华勋章美女勋章勤奋勋章交易勋章万时之王

发表于 2025-3-24 07:25 | 显示全部楼层
输了一点钱也是让人伤心啊居然没有办法的时候还是不要玩的为好
回复 支持 反对

使用道具 举报

2444

主题

8万

回帖

4089

金币

海燕硕士

积分
222174

老会员超级精华精华勋章美女勋章勤奋勋章交易勋章万时之王

发表于 2025-3-24 07:25 | 显示全部楼层
lantianyun 发表于 2025-3-24 07:23  E3 k, U* y2 S
对于这样的一个结果,应该说影响不大的,还是希望能够下一次好运气吧

  H2 D1 X5 \  o虽然说影响不大吧,但是输钱就是输钱,肯定是不美美丽的
回复 支持 反对

使用道具 举报

您需要登录后才可以回帖 登录 | 立即注册

本版积分规则

广告合作|福利汇|论坛简介|钱包教程|手机版|小黑屋|Archiver|海燕论坛

快速回复 返回顶部 返回列表