找回密码
 立即注册
澳门威尼斯人
U8
U18
海燕招商
A
蓝盾
e世博
islot.
申博亚洲
澳门银河
B
开云
腾博会
德信
C级广告商
吉祥坊
华体会
查看: 26275|回复: 74

[彩票] 【实战有奖】威尼斯人台湾宾果连挂后稳收,亏损2450止步

[复制链接]

88

主题

2万

回帖

6474

金币

铂金用户

积分
77998

老会员交易勋章魅力达人

发表于 2025-10-6 16:17 | 显示全部楼层 |阅读模式

马上注册,结交更多好友,享用更多功能,让你轻松玩转社区。

您需要 登录 才可以下载或查看,没有账号?立即注册

×
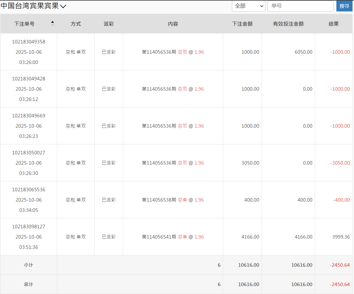
今天下午打了台湾宾果这一轮,整体过程挺曲折,但也算控制住了节奏。大概从下午三点左右开始进场,当时看走势总和“双”连开几期,手痒了,于是轻仓试单。原本打算随便玩玩,结果越看越不对劲,单双频繁切换,让人有点摸不清节奏。7 [4 N: y7 q/ c' [

7 ^/ A8 A8 a2 u" V" Z' ?4 C这轮总共下了六单,前几把基本都在试探走势。结果连续几期都反着来,尤其是那笔3050的“总双”,被直接吃掉,账面一口气红到三千多。那一瞬间心态确实有点晃,手差点又去补仓。后来想到之前吃亏的经验,强行让自己停手,看完那期结果就去洗了个脸。2 g$ `2 e6 J& x: ~

* _# M2 ^7 Z& `0 Q$ z" s, }4 H回来后重新看走势图,发现节奏有点回稳,于是再上两把“总单”试水。最后一单我加到4166,打的第114056541期,终于中回来了3999.36,这口气算是稳了。整盘下来,亏了2450左右,折合人民币不到两千。
2 ^& s) J9 w8 [  |7 N; K  C& b1 m6 {3 X& N( H; t
账面上虽然是负的,但我个人觉得这轮打得比前几次更“成熟”——不是赢多少的问题,而是我终于没再乱追。这次BBIN那边转入了10616,转出回大厅时剩8165,虽然账面亏损,但过程有节制、心态稳,算是一次小考合格。9 M: Z5 N( v2 E4 B4 E
8 ?# ]; z! ~  F+ b0 H
过去我常常一看挂单就想加码“赢回来”,结果反而输更惨。现在我学会了一件事:赢钱靠机会,止损靠自律。只要不被情绪带走,长期来看反而能少损多赢。
* ~0 J6 q. q. E
3 O* W% J) c0 K' w. T+ y  X另外,这轮台湾宾果的走势挺诡异的,总和单双跳得快,没有出现连续7期以上的连号。下午那段时间尤其乱,建议后面玩这盘口的兄弟们注意节奏,不要被短线结果误导。可以像我这样——前几期用小注探路,等走势方向稳定后再加码。
0 g# ~! I* G& m+ G/ u6 A
7 C- F( R, k- z! o- V! s这次我还特地看了下注明细,总金额10616,有效投注全打满,亏损-2450.64。虽然是红的,但我反而挺高兴,因为这说明我守住了底线:没追加、没爆仓。
% d" U6 x6 s' }5 p
2 ]$ k+ ~1 K! H! z' l9 d# ~' x6 ^. J- ~最后总结一句:9 o* w# E7 j' ^% B  p8 _9 V  Y1 V9 x
输钱不可怕,乱输才可怕;稳得住,才是真正的赢。" ^1 Q7 O$ d1 h7 L: n% p/ [
5 Y/ s2 W: x8 ?$ |$ ?
这两天论坛不少人也在分享台湾盘的节奏,我的经验是——宁可打慢,也不要乱节奏。未来几天我会继续观察走势,等连号或规律性区间出来,再考虑加仓。今天就到这,休息一会,晚上再看情况。
, S. O7 @- \- k1 d6 {5 m" o* l( Y: C# v5 E% @  s) Z) p- i" z( y
QQ20251006-160203.png QQ20251006-160102.png
5 w+ O8 @& O+ H4 C' D, r5 I7 ~: n! Z- M
6 \& |0 e4 K  r1 @$ g9 n& a
回复

使用道具 举报

1

主题

4994

回帖

4198

金币

金牌会员

积分
23389

老会员

发表于 2025-10-6 16:22 | 显示全部楼层
楼主亏损了还是要止损,回血了一大半还是挺不错了
回复 支持 反对

使用道具 举报

197

主题

6859

回帖

148

金币

银牌会员

积分
13995

老会员交易勋章

发表于 2025-10-6 17:56 | 显示全部楼层
你还玩这个啊,我是真没玩过这类彩票,是彩票没错吧,止损做到位就好
回复 支持 反对

使用道具 举报

8

主题

2万

回帖

1万

金币

铂金用户

积分
79001

光影行者

发表于 2025-10-6 19:37 | 显示全部楼层
3050那把真够呛,能忍住不补仓已经赢一半,节奏乱时洗脸是个好招
回复 支持 反对

使用道具 举报

3400

主题

4万

回帖

4124

金币

钻石用户

积分
116729

万时之王老会员勤奋勋章交易勋章

发表于 2025-10-6 19:48 | 显示全部楼层
老哥还是低调点吧, 亏损2450, 也是输太多了, 还是要及时收手,真不敢继续了
回复 支持 反对

使用道具 举报

3400

主题

4万

回帖

4124

金币

钻石用户

积分
116729

万时之王老会员勤奋勋章交易勋章

发表于 2025-10-6 19:49 | 显示全部楼层
蔬菜沙拉 发表于 2025-10-6 19:37- X! w4 {1 u% a
3050那把真够呛,能忍住不补仓已经赢一半,节奏乱时洗脸是个好招
/ ^; R' e" B1 \5 d" B1 o
玩菠菜还是量力而行吧, 别玩太大了, 输太多了, 也是很影响心情了。
回复 支持 反对

使用道具 举报

3400

主题

4万

回帖

4124

金币

钻石用户

积分
116729

万时之王老会员勤奋勋章交易勋章

发表于 2025-10-6 19:49 | 显示全部楼层
二电厂哥 发表于 2025-10-6 17:56
# q8 g6 a. u: O$ _9 J: b6 d你还玩这个啊,我是真没玩过这类彩票,是彩票没错吧,止损做到位就好

8 y' a+ S3 A; J$ p# l. E' z( h, X亏损了2450也是输太多了, 这钱能干很多事的了啊, 也是很遗憾了。
回复 支持 反对

使用道具 举报

3400

主题

4万

回帖

4124

金币

钻石用户

积分
116729

万时之王老会员勤奋勋章交易勋章

发表于 2025-10-6 19:50 | 显示全部楼层
shunlifeiup 发表于 2025-10-6 16:22( i% j% |/ d: O
楼主亏损了还是要止损,回血了一大半还是挺不错了

: [1 P( U7 ?. ]3 V损失惨重了呀, 输了这么多, 想回血都是很困难了啊, 还是休息冷静一下吧。
回复 支持 反对

使用道具 举报

377

主题

1561

回帖

2522

金币

铜牌用户

积分
9274

老会员交易勋章

发表于 2025-10-6 21:07 | 显示全部楼层
能够及时做到止损啊 还是很不容易的   及时调整吧!
回复 支持 反对

使用道具 举报

52

主题

2万

回帖

5836

金币

铂金用户

积分
79447

老会员光影行者

发表于 2025-10-7 02:34 | 显示全部楼层
别急着追,理性把握,稳住节奏,总会有赚钱的时候,节制至关重要
回复 支持 反对

使用道具 举报

52

主题

2万

回帖

5836

金币

铂金用户

积分
79447

老会员光影行者

发表于 2025-10-7 02:34 | 显示全部楼层
蔬菜沙拉 发表于 2025-10-6 19:37, r1 L; K+ X$ `* X
3050那把真够呛,能忍住不补仓已经赢一半,节奏乱时洗脸是个好招
5 f4 Z% F; a+ t- t. f2 y) q
3050那把确实有点狼狈,不过威尼斯人台湾宾果稳住节奏,亏损2450也算是及时止损
回复 支持 反对

使用道具 举报

2436

主题

8万

回帖

5311

金币

海燕硕士

积分
224197

老会员超级精华精华勋章美女勋章勤奋勋章交易勋章万时之王

发表于 2025-10-7 05:46 | 显示全部楼层
输掉了2000多块能够止损离开也是比较理智的一个人吧
回复 支持 反对

使用道具 举报

2436

主题

8万

回帖

5311

金币

海燕硕士

积分
224197

老会员超级精华精华勋章美女勋章勤奋勋章交易勋章万时之王

发表于 2025-10-7 05:46 | 显示全部楼层
whywhy 发表于 2025-10-7 02:34$ M# g4 N1 T: g
3050那把确实有点狼狈,不过威尼斯人台湾宾果稳住节奏,亏损2450也算是及时止损 ...
" E: B& _7 |: P8 |  S- `
反正自己的节奏要把握好,不然输的就是自己的钱
回复 支持 反对

使用道具 举报

2436

主题

8万

回帖

5311

金币

海燕硕士

积分
224197

老会员超级精华精华勋章美女勋章勤奋勋章交易勋章万时之王

发表于 2025-10-7 05:46 | 显示全部楼层
whywhy 发表于 2025-10-7 02:34  z" H9 h9 F2 ~5 P2 k
别急着追,理性把握,稳住节奏,总会有赚钱的时候,节制至关重要

/ K$ m$ v8 y( `这个节奏导致的亏损也是没有办法的事,毕竟输了这么多
回复 支持 反对

使用道具 举报

2436

主题

8万

回帖

5311

金币

海燕硕士

积分
224197

老会员超级精华精华勋章美女勋章勤奋勋章交易勋章万时之王

发表于 2025-10-7 05:46 | 显示全部楼层
莫扎特06 发表于 2025-10-6 19:49+ e! @" _6 d- U5 o, C& A- E
亏损了2450也是输太多了, 这钱能干很多事的了啊, 也是很遗憾了。

5 s+ |. |8 t! N; I7 ?输的太多也是要想办法把它搞回来,不然也是难受
回复 支持 反对

使用道具 举报

您需要登录后才可以回帖 登录 | 立即注册

本版积分规则

广告合作|福利汇|论坛简介|钱包教程|手机版|小黑屋|Archiver|海燕论坛

快速回复 返回顶部 返回列表