找回密码
 立即注册
澳门威尼斯人
U8
U18
海燕招商
A
蓝盾
e世博
islot.
申博亚洲
澳门银河
B
开云
腾博会
德信
C级广告商
吉祥坊
华体会
查看: 966|回复: 89

[彩票] 比特彩票走势不定艰难收904元

[复制链接]

59

主题

2694

回帖

2058

金币

银牌会员

积分
10855

老会员

发表于 2026-2-28 19:42 | 显示全部楼层 |阅读模式

马上注册,结交更多好友,享用更多功能,让你轻松玩转社区。

您需要 登录 才可以下载或查看,没有账号?立即注册

×
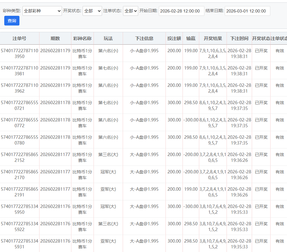
晚上继续着 70-150-200-300-500的战略彩票下注 三定位两面玩法,输了一直往上推到500赢后则从赢时的注码往下推到最低70的位置,投注9000多才收904元;
: [7 a9 ^- A" S3 g. P
$ ?, Z# q$ J* i+ U7 F- p/ @8 `! I2 R( }7 C
2.png 3.png 1.png
4 `8 L; l9 D1 h- ?

评分

参与人数 1金币 +8 收起 理由
海燕RG + 8 实战分享

查看全部评分

回复

使用道具 举报

3413

主题

2万

回帖

1万

金币

版主

积分
91253

优秀版主老会员版主勋章超级精华

发表于 2026-2-28 19:50 | 显示全部楼层
主要还是要看胜率,否则很难扛得住了
回复 支持 反对

使用道具 举报

210

主题

1万

回帖

1561

金币

千足金牌会员

积分
43242

老会员

发表于 2026-2-28 20:13 | 显示全部楼层
这次幸运的,下次就得要再稳点才行呀
回复 支持 反对

使用道具 举报

1454

主题

1万

回帖

1万

金币

千足金牌会员

积分
52591

老会员财富勋章精华勋章交易勋章热心会员魅力达人

发表于 2026-2-28 20:29 | 显示全部楼层
这样的盈利已经很不错了
回复 支持 反对

使用道具 举报

7

主题

2万

回帖

1万

金币

铂金用户

积分
78690

光影行者

发表于 2026-2-28 20:36 | 显示全部楼层
这节奏太折磨人了,推注推到500才回血,9000砸下去就捞900多,心疼钱包
回复 支持 反对

使用道具 举报

7

主题

2万

回帖

1万

金币

铂金用户

积分
78690

光影行者

发表于 2026-2-28 20:36 | 显示全部楼层
笑看人生 发表于 2026-2-28 20:29
3 R# m9 V# b+ h, ?/ N9 }1 u这样的盈利已经很不错了
7 {- g3 @2 O* F" j4 M! s! D: r
能稳住900+已经算硬核了,这走势能抠出来真不容易
回复 支持 反对

使用道具 举报

7

主题

2万

回帖

1万

金币

铂金用户

积分
78690

光影行者

发表于 2026-2-28 20:36 | 显示全部楼层
hy188820 发表于 2026-2-28 20:13  w3 T5 b& G8 Q) g3 ^5 m' [1 M
这次幸运的,下次就得要再稳点才行呀
) x8 s8 Z8 C6 j- M' @% d) G
走势飘忽确实难搞,稳着来才能细水长流,下次别急着冲
回复 支持 反对

使用道具 举报

618

主题

1万

回帖

5260

金币

金牌会员

积分
39744

老会员

发表于 2026-2-28 23:27 | 显示全部楼层
如此丰厚的回报令人赞叹,这是楼主的实力
回复 支持 反对

使用道具 举报

618

主题

1万

回帖

5260

金币

金牌会员

积分
39744

老会员

发表于 2026-2-28 23:28 | 显示全部楼层
蔬菜沙拉 发表于 2026-2-28 20:36$ A3 R) c; D7 ^/ p% w$ p7 N+ e. e% ^( G
走势飘忽确实难搞,稳着来才能细水长流,下次别急着冲

, b) L: Y$ ~. Z. e: T3 U6 C/ s' l2 v
7 [0 W: M, V/ o' I5 E2 W能长期保持盈利状态就实属难得
回复 支持 反对

使用道具 举报

2

主题

8492

回帖

9249

金币

千足金牌会员

积分
43472
发表于 2026-3-1 02:25 | 显示全部楼层
这推注玩法投九千多才收九百出头,走势不定真够磨人的,这收益和投入比看着也挺闹心
回复 支持 反对

使用道具 举报

2

主题

8492

回帖

9249

金币

千足金牌会员

积分
43472
发表于 2026-3-1 02:26 | 显示全部楼层
一路前行 发表于 2026-2-28 23:28
# E" s0 X. G3 [- \, d& N- R能长期保持盈利状态就实属难得

3 w. Y% x, H% O走势那么飘能长期稳着赚真不容易,这次收904也算是熬过来了,别贪稳着来就好
回复 支持 反对

使用道具 举报

1571

主题

8万

回帖

2万

金币

海燕硕士

积分
255558

万时之王老会员精华勋章勤奋勋章交易勋章光影行者

发表于 2026-3-1 05:37 | 显示全部楼层
可以赢这么多钱也是非常厉害的了。
回复 支持 1 反对 0

使用道具 举报

1571

主题

8万

回帖

2万

金币

海燕硕士

积分
255558

万时之王老会员精华勋章勤奋勋章交易勋章光影行者

发表于 2026-3-1 05:37 | 显示全部楼层
蔬菜沙拉 发表于 2026-2-28 20:36% j+ \5 ?% F6 _$ z
走势飘忽确实难搞,稳着来才能细水长流,下次别急着冲

1 B! w* f3 q* e' i8 E* \希望是可以能够保持住这样的好运气吧
回复 支持 反对

使用道具 举报

1571

主题

8万

回帖

2万

金币

海燕硕士

积分
255558

万时之王老会员精华勋章勤奋勋章交易勋章光影行者

发表于 2026-3-1 05:37 | 显示全部楼层
一路前行 发表于 2026-2-28 23:27
( ]" B1 M! v( q6 ~( |8 d# B- J如此丰厚的回报令人赞叹,这是楼主的实力
0 A7 X3 a. k' U' z3 {( c6 h0 s
楼主确实是非常有实力的玩家了呢。
回复 支持 反对

使用道具 举报

1571

主题

8万

回帖

2万

金币

海燕硕士

积分
255558

万时之王老会员精华勋章勤奋勋章交易勋章光影行者

发表于 2026-3-1 05:37 | 显示全部楼层
一路前行 发表于 2026-2-28 23:28
7 V3 H% }; |% s. Y能长期保持盈利状态就实属难得
; x7 w+ N8 E: {' x
这个确实是非常难得的事情了呢。
回复 支持 反对

使用道具 举报

您需要登录后才可以回帖 登录 | 立即注册

本版积分规则

广告合作|福利汇|论坛简介|钱包教程|手机版|小黑屋|Archiver|海燕论坛

快速回复 返回顶部 返回列表