找回密码
 立即注册
澳门威尼斯人
U8
U18
海燕招商
A
蓝盾
e世博
islot.
申博亚洲
澳门银河
B
开云
腾博会
德信
C级广告商
吉祥坊
华体会
查看: 137751|回复: 34

[真人] 九五 AG视讯

[复制链接]

2

主题

2

回帖

0

金币

新手上路

积分
9
发表于 2024-5-28 15:49 | 显示全部楼层 |阅读模式

马上注册,结交更多好友,享用更多功能,让你轻松玩转社区。

您需要 登录 才可以下载或查看,没有账号?立即注册

×

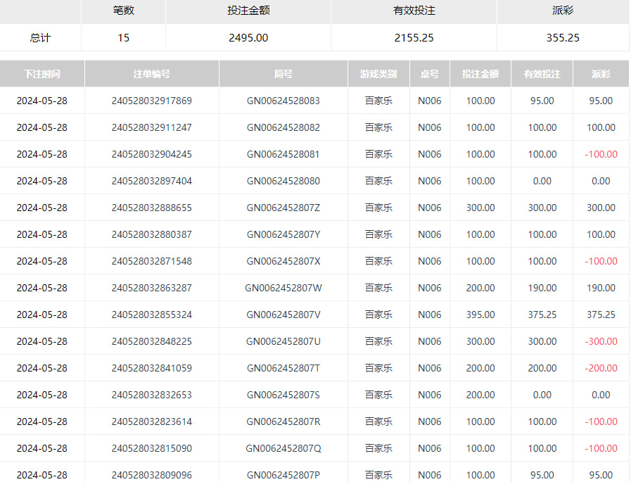
今天是运气不好吗?赢一点赶紧走。明天再来。

1111.jpg
回复

使用道具 举报

205

主题

7329

回帖

1600

金币

银牌会员

积分
17956

老会员光影行者

发表于 2024-5-28 16:18 | 显示全部楼层
没存款图克不行,还是要遵守发帖规则啊,兄弟,转账图也行
回复 支持 反对

使用道具 举报

1581

主题

8万

回帖

2万

金币

海燕硕士

积分
259317

万时之王老会员精华勋章勤奋勋章交易勋章光影行者

发表于 2024-5-28 17:17 | 显示全部楼层
能够盈利了还是非常高兴的,这个帖子还是少了几张图片的
回复 支持 反对

使用道具 举报

2452

主题

8万

回帖

5106

金币

海燕硕士

积分
224917

老会员超级精华精华勋章美女勋章勤奋勋章交易勋章万时之王

发表于 2024-5-28 18:19 | 显示全部楼层
每天也是看运气来的呀,盈利与否也是要坚持一下呀
回复 支持 反对

使用道具 举报

2452

主题

8万

回帖

5106

金币

海燕硕士

积分
224917

老会员超级精华精华勋章美女勋章勤奋勋章交易勋章万时之王

发表于 2024-5-28 18:20 | 显示全部楼层
cwx1994 发表于 2024-5-28 17:17
4 [  V- B0 n3 N8 o, B, w; z! J能够盈利了还是非常高兴的,这个帖子还是少了几张图片的
  [& V2 [( K1 Z6 }- |7 E
有个盈利的成绩是值得高兴的事呀,我们也是努力了呀
回复 支持 反对

使用道具 举报

1410

主题

5万

回帖

2163

金币

钻石用户

积分
142705

万时之王老会员勤奋勋章交易勋章

发表于 2024-5-28 18:46 | 显示全部楼层
盈利就是王道啊 楼主如果能每天盈利300多也是很不错的.
回复 支持 反对

使用道具 举报

41

主题

2万

回帖

50

金币

金牌会员

积分
34299

老会员勤奋勋章交易勋章

发表于 2024-5-28 21:26 来自手机 | 显示全部楼层
楼主这次盈利了也是不少的,这也是一个很好的结果了吧。
回复 支持 反对

使用道具 举报

41

主题

2万

回帖

50

金币

金牌会员

积分
34299

老会员勤奋勋章交易勋章

发表于 2024-5-28 21:27 来自手机 | 显示全部楼层
allin 发表于 2024-5-28 18:46+ f+ ?* J$ K; R) V% X# N- C  }
盈利就是王道啊 楼主如果能每天盈利300多也是很不错的.

( T+ U0 n  Q# i6 M4 ]要是每天都能够坚持这么多,那一个月累积下来也是不少了呢
回复 支持 反对

使用道具 举报

162

主题

1万

回帖

242

金币

金牌会员

积分
21624

老会员交易勋章魅力达人

发表于 2024-5-28 22:13 来自手机 | 显示全部楼层
胜率也是不算太差了,基本上保持了一半一半的机会
回复 支持 反对

使用道具 举报

2452

主题

8万

回帖

5106

金币

海燕硕士

积分
224917

老会员超级精华精华勋章美女勋章勤奋勋章交易勋章万时之王

发表于 2024-5-29 07:37 | 显示全部楼层
12358 发表于 2024-5-28 22:13" t1 q3 S) V1 m3 i9 y/ ]3 K
胜率也是不算太差了,基本上保持了一半一半的机会
: z# g9 T& e6 |) u
这个胜率注码一样的重要呀,盈利就靠这两个原因来的呀
回复 支持 反对

使用道具 举报

2452

主题

8万

回帖

5106

金币

海燕硕士

积分
224917

老会员超级精华精华勋章美女勋章勤奋勋章交易勋章万时之王

发表于 2024-5-29 07:37 | 显示全部楼层
吕2244 发表于 2024-5-28 21:26
9 i; N' _" g6 ?9 l( r* n  ]. B楼主这次盈利了也是不少的,这也是一个很好的结果了吧。

& L; M, S3 G  `2 G/ _0 [0 Q6 a$ H盈利的话也是因为运气来了呀,我们想要的就是这样的一个结果了
回复 支持 反对

使用道具 举报

2452

主题

8万

回帖

5106

金币

海燕硕士

积分
224917

老会员超级精华精华勋章美女勋章勤奋勋章交易勋章万时之王

发表于 2024-5-29 07:37 | 显示全部楼层
allin 发表于 2024-5-28 18:46% {0 s- C- w# \6 y3 y8 H7 @1 _  v
盈利就是王道啊 楼主如果能每天盈利300多也是很不错的.

3 b* ?6 ]- f/ a6 M- R8 O. K每天这样的盈利就好了呀,也就想一下就行了,不太现实的事
回复 支持 反对

使用道具 举报

2715

主题

8万

回帖

7401

金币

海燕硕士

积分
226305

万时之王老会员勤奋勋章交易勋章

发表于 2024-5-29 10:31 | 显示全部楼层
那还不错的运气啊,能赢到钱也是很开心的,这样的结果是太好了
回复 支持 反对

使用道具 举报

2715

主题

8万

回帖

7401

金币

海燕硕士

积分
226305

万时之王老会员勤奋勋章交易勋章

发表于 2024-5-29 10:31 | 显示全部楼层
杨雪儿 发表于 2024-5-29 07:376 l) M3 n* N3 _
每天这样的盈利就好了呀,也就想一下就行了,不太现实的事
6 Z# Y& G0 H4 G4 G
可以每天有一点收获的话,真的是很不错,对了能稳住就好了
回复 支持 1 反对 0

使用道具 举报

2715

主题

8万

回帖

7401

金币

海燕硕士

积分
226305

万时之王老会员勤奋勋章交易勋章

发表于 2024-5-29 10:31 | 显示全部楼层
杨雪儿 发表于 2024-5-29 07:37
1 N( S  P$ [& ^* Q4 m这个胜率注码一样的重要呀,盈利就靠这两个原因来的呀

' n3 K# k4 z+ r1 e. O* h能有好的成绩也是很好啊,这样的结果也是可以接受的了
回复 支持 反对

使用道具 举报

您需要登录后才可以回帖 登录 | 立即注册

本版积分规则

广告合作|福利汇|论坛简介|钱包教程|手机版|小黑屋|Archiver|海燕论坛

快速回复 返回顶部 返回列表