找回密码
 立即注册
澳门威尼斯人
U8
U18
海燕招商
A
蓝盾
e世博
islot.
申博亚洲
澳门银河
B
开云
腾博会
德信
C级广告商
吉祥坊
华体会
查看: 221761|回复: 57

[电子] 今天是照单全收了。舒服。

[复制链接]

562

主题

177

回帖

2510

金币

铜牌用户

积分
8172

老会员

发表于 2024-8-13 13:41 | 显示全部楼层 |阅读模式

马上注册,结交更多好友,享用更多功能,让你轻松玩转社区。

您需要 登录 才可以下载或查看,没有账号?立即注册

×
回来了,感觉都回来了,尤其是有奥林匹斯之门这道气,今天是真的顺得不得了了,不开那么多张帖子了,直接一张帖子晒完。
8 x& E! R. p3 M( H2 x' |' E0 c$ `' x7 j5 @  T$ u1 M1 S
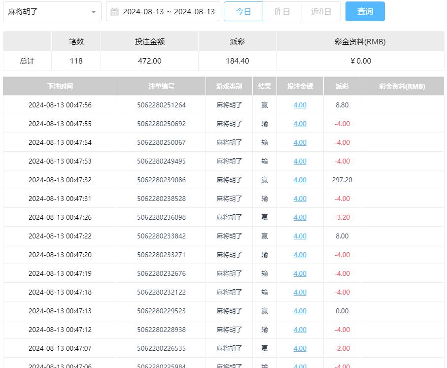
PG的麻将胡了,20来转出一波30倍,赢58。0 q6 ]. U. r; u) }. I7 m

0 r+ U4 [; e8 B9 U9 B  b5 T% j 1.jpg 2.jpg
) v$ Q6 X: G; z, }# d% {, v, e; M9 T, u3 ?7 s$ j
& G$ }- n6 Q2 E# _, w
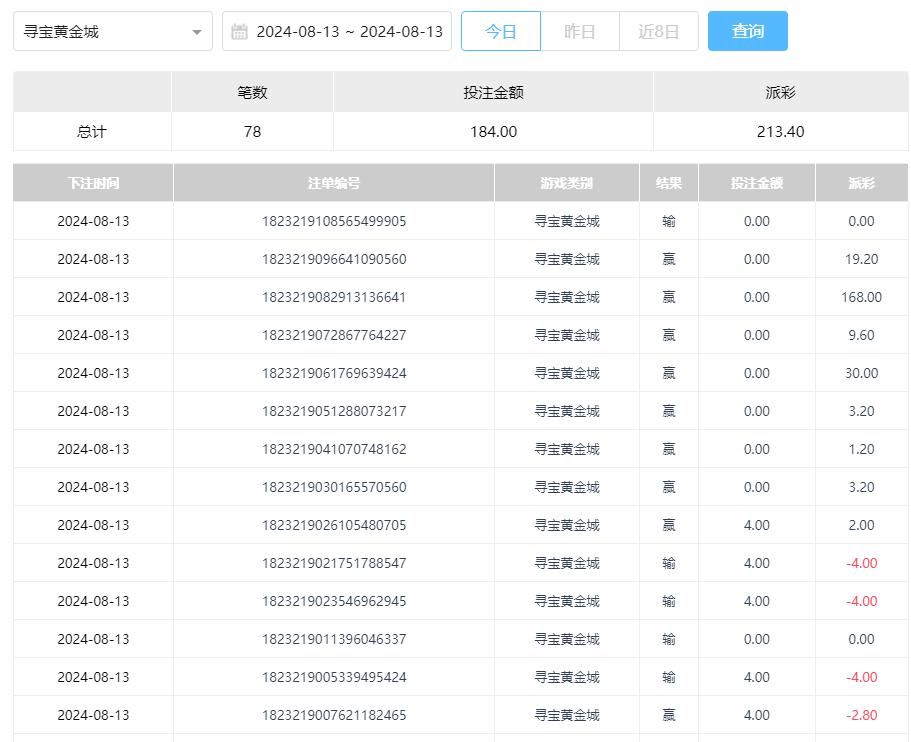
同样是PG的,寻宝黄金城,50转不到,爆59倍,赢213
$ }: H2 H0 T# Y* A4 ?5 ~! }0 e. g' k
( z; }; u7 F. `. ^; e/ \1 F5 f/ d+ P 3.jpg 4.jpg
4 C# G  y) Y' N0 V) y
  K8 a( v( k4 n9 ~同样是麻将胡了,不过是bb的,100来转,爆75倍,赢184。
" D; E, X! u, x) I9 ]( K4 Y) j2 K$ _6 H" `" }* V$ R# |
5.jpg 6.jpg
* K. d9 E# ^1 O# d* V# z% |2 e8 [9 I0 e
5 a. p# n$ }. x" E5 T8 R, F总之今天是照单全收了,舒服到不得了。
2 {8 W7 x2 a( f- C, I$ R
. |9 q' @- z" `% w
回复

使用道具 举报

0

主题

9812

回帖

4749

金币

金牌会员

积分
31022

老会员

发表于 2024-8-13 13:47 | 显示全部楼层
楼主老虎机都能够有这样的收益,确实是很不错的,希望以后能够保持好运气的。
回复 支持 反对

使用道具 举报

252

主题

1万

回帖

1630

金币

金牌会员

积分
31746

老会员

发表于 2024-8-13 15:47 | 显示全部楼层
老虎机能够有这样的盈利,确实是很不错的,希望以后都能够有个好的结果了。
回复 支持 反对

使用道具 举报

455

主题

4040

回帖

422

金币

银牌会员

积分
12407

老会员交易勋章

发表于 2024-8-13 16:15 来自手机 | 显示全部楼层
能够有这样的收益,确实让人身心舒畅呀,恭喜楼主了
回复 支持 反对

使用道具 举报

455

主题

4040

回帖

422

金币

银牌会员

积分
12407

老会员交易勋章

发表于 2024-8-13 16:16 来自手机 | 显示全部楼层
你说的都对 发表于 2024-8-13 13:471 F' t, b/ g4 a, S3 _/ X& ^
楼主老虎机都能够有这样的收益,确实是很不错的,希望以后能够保持好运气的。 ...
  r. h1 F$ U; G: ?9 X
猪,这次的运气真是不错,让人羡慕呀,继续保持加油
回复 支持 反对

使用道具 举报

455

主题

4040

回帖

422

金币

银牌会员

积分
12407

老会员交易勋章

发表于 2024-8-13 16:16 来自手机 | 显示全部楼层
黑雨衣大盗 发表于 2024-8-13 15:47( t& b3 N( `0 [( c% T. m1 l+ c+ C& ~
老虎机能够有这样的盈利,确实是很不错的,希望以后都能够有个好的结果了。 ...

' H3 t- r  X% g4 x是的,好运来了,挡也挡不住运气,有了赚钱就容易了
回复 支持 反对

使用道具 举报

1214

主题

3万

回帖

509

金币

铂金用户

积分
93117

老会员交易勋章光影行者

发表于 2024-8-13 19:39 | 显示全部楼层
能够赚几十了呀,感觉真的是不错的啦,希望这样的好运继续下去了。
回复 支持 反对

使用道具 举报

1214

主题

3万

回帖

509

金币

铂金用户

积分
93117

老会员交易勋章光影行者

发表于 2024-8-13 19:39 | 显示全部楼层
一注晴天 发表于 2024-8-13 16:16
7 j; e( i; {$ x8 R是的,好运来了,挡也挡不住运气,有了赚钱就容易了

7 z6 l! c0 k, l% P  `9 Z我们一般都是非常的羡慕那些有运气的人的。因为有运气就会有钱的。
回复 支持 反对

使用道具 举报

1214

主题

3万

回帖

509

金币

铂金用户

积分
93117

老会员交易勋章光影行者

发表于 2024-8-13 19:39 | 显示全部楼层
一注晴天 发表于 2024-8-13 16:15
/ F: D, t4 d; |  R% Z6 m. g能够有这样的收益,确实让人身心舒畅呀,恭喜楼主了
- c! [  h4 V3 c8 o! c) N2 O# S
一般的人呀也就只能够羡慕羡慕了。自己是根本得不到的啦。
回复 支持 反对

使用道具 举报

3400

主题

4万

回帖

4126

金币

钻石用户

积分
116733

万时之王老会员勤奋勋章交易勋章

发表于 2024-8-13 21:01 | 显示全部楼层
这运气也是太好了吧, 真是玩什么红什么,这样也是盈利了好几百了吧, 也是很羡慕了。
回复 支持 反对

使用道具 举报

3400

主题

4万

回帖

4126

金币

钻石用户

积分
116733

万时之王老会员勤奋勋章交易勋章

发表于 2024-8-13 21:02 | 显示全部楼层
猴哥打野 发表于 2024-8-13 19:39' Z$ L- G8 h) {$ G
一般的人呀也就只能够羡慕羡慕了。自己是根本得不到的啦。
  }) }1 C& ]6 L6 m! @
这个运气来了,赢钱也是分分钟的事了, 楼主今天战绩也是很辉煌了啊。
回复 支持 反对

使用道具 举报

3400

主题

4万

回帖

4126

金币

钻石用户

积分
116733

万时之王老会员勤奋勋章交易勋章

发表于 2024-8-13 21:02 | 显示全部楼层
一注晴天 发表于 2024-8-13 16:16) ]. F; r4 t# I6 r1 p  R
是的,好运来了,挡也挡不住运气,有了赚钱就容易了

* V$ _0 c3 ], R1 f4 W2 P: _楼主今天也是大丰收了啊, 这结果也是很美好了, 希望能够继续保持好运。
回复 支持 反对

使用道具 举报

3400

主题

4万

回帖

4126

金币

钻石用户

积分
116733

万时之王老会员勤奋勋章交易勋章

发表于 2024-8-13 21:03 | 显示全部楼层
一注晴天 发表于 2024-8-13 16:15
7 w% Z# R) ]' R7 R能够有这样的收益,确实让人身心舒畅呀,恭喜楼主了
8 C$ J! r. \+ \( z; b/ y- `/ f
赚了好几百了呀, 这感觉也是很爽了呀,希望继续保持好运, 多盈利。
回复 支持 反对

使用道具 举报

2452

主题

8万

回帖

5016

金币

海燕硕士

积分
224602

老会员超级精华精华勋章美女勋章勤奋勋章交易勋章万时之王

发表于 2024-8-14 06:50 | 显示全部楼层
今天有个好成绩是舒服呀,天天看你打虎也是有意思的事呀
回复 支持 反对

使用道具 举报

2452

主题

8万

回帖

5016

金币

海燕硕士

积分
224602

老会员超级精华精华勋章美女勋章勤奋勋章交易勋章万时之王

发表于 2024-8-14 06:50 | 显示全部楼层
莫扎特06 发表于 2024-8-13 21:03. U) o1 g& H! u- s/ H
赚了好几百了呀, 这感觉也是很爽了呀,希望继续保持好运, 多盈利。

& l2 ]( W  q( T$ B, d反正赚到钱了也是值得了呀,感觉运气来了就是不太一样的呀
回复 支持 反对

使用道具 举报

您需要登录后才可以回帖 登录 | 立即注册

本版积分规则

广告合作|福利汇|论坛简介|钱包教程|手机版|小黑屋|Archiver|海燕论坛

快速回复 返回顶部 返回列表